HOME > 外付けハードディスクを使う
外付けハードディスクを使う
"ナスネ"は、次の種類の外付けハードディスクを接続できます。
- インターフェース: USB2.0
- 容量: 最大6TB
- フォーマット: XFS
※登録時に外付けハードディスクをXFSにてフォーマットを行います。
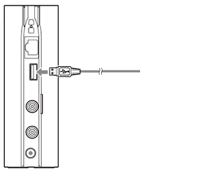
- 1.
- 外付けハードディスクを、"ナスネ"背面のEXT HDD(外付けハードディスク)端子にUSBケーブルで接続する。
- "ナスネ"背面

- 2.
- 外付けハードディスクを"ナスネ"に登録する。
"ナスネ"と同一のホームネットワークに接続された機器から「nasne™ HOME」を起動し、
(ハードディスク管理) > [外付けハードディスクの登録と削除]で[登録]を選びます。
「nasne™ HOME」の起動方法はこちらをご覧ください。
外付けハードディスクが登録されると、同一のネットワークに接続された機器に「share2」として表示されます。
- "ナスネ"の各部のなまえやインジケーターランプの状態と動作については、バッファロー製nasne(ナスネ)公式サイトをご覧ください。
- 「nasne™ HOME」の
(ハードディスク管理)では、"ナスネ"の内蔵ハードディスクと外付けハードディスクそれぞれの使用状態も確認できます。 - 「nasne™ HOME」の
(ハードディスク管理) > [外付けハードディスクの登録と削除]で[削除]を選ぶと、外付けハードディスクに保存されている録画コンテンツはすべて削除され、視聴できなくなります 。 - 1台の"ナスネ"に接続できるハードディスクは1台です。別の外付けハードディスクを接続して登録すると、1台目の外付けハードディスクの登録が削除され、1台目に保存されている録画コンテンツはすべて使用できなくなります。
- すべての外付けハードディスクの動作を保証するものではありません。
- "ナスネ"に外付けハードディスクを登録すると、登録前に外付けハードディスクに保存されていたデータは全て消去されます。
- USB3.xの外付けハードディスクもご使用になれますが、転送速度はUSB2.0相当となります。
HOME > 外付けハードディスクを使う